VOLVER
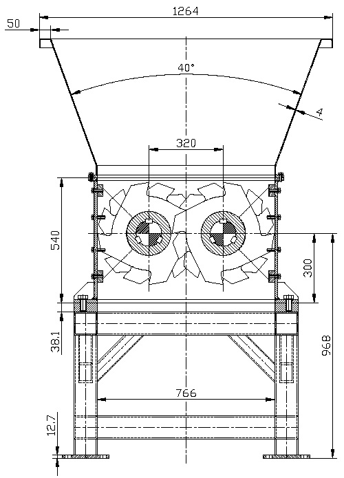
Triturador de dos ejes. Planos de las piezas y montaje.
Argentina





.. Argentina $53
Triturador de dos ejes. Planos de las piezas y montaje.
TEL1
EMAILlibroptica@gmail.com
WWWwww.libroptica.com/TrituradorDeDosEjes.html
909 accesos AR10858391
triturador ... rompedora

Copyright 2013-2022 por Interzonga Communications